In this article, We will show you some guidelines for MaXpeedingRods Air Heater Installment to avoid and then cover the right placement and installation of the air heater.
Overview
The main machine of the air parking heater (hereinafter referred to as the heater) is a small fuel furnace controlled by a microprocessor. The heat exchanger is located in the hood-shaped case as an independent air passage. The cold air is sucked into the air passage by the fan and blown out the hot air, which formed another heating system besides the original vehicle’s heating system. In this way, the cab and passenger compartment can be heated whether the engine is working or not. The schematic diagram is shown in Fig. 1.

The heater is automatically controlled, and it has the advantages of compact structure, easy installation, energy saving, environmental protection, safe and reliability, and simple maintenance.
Purpose of the heater

• Pre-heating, de-misting windows
• Heating and keeping the following warm:
– All kinds of auto and trailers
– Construction machinery
– Agricultural machinery
– Camper vans
– RV
– Boat, Ship, Yacht
Technical parameters
| Model Parameter | MXR-1F(Split style) | MXR-3M(All in one) |
| Fuel | Diesel ONLY | |
| Heating Capacity | 1-5KW | 1-5KW |
| Rated Voltage | 12V | 12V |
| Fuel Consumption | 0.16-0.50L/H | 0.16-0.50L/H |
| Running ambient temperature | -40°C to +40°C | |
| Starting Power Consumption | 9-11A | 9-11A |
| Running Power Consumption | 1-3A | 1-3A |
| Product Weight | KG | KG |
| Product Size |
Requirements for installation of the heater:
1. It is not allowed to use the heater in locations with inflammable or explosive substances such as flammable gas or flammable dust.
2. It is not allowed to use the heater in closed spaces (such as garages or maintenance workshops without air ventilation) to avoid the danger of poisoning due to exhaust from burning.
3. It is not allowed to install and use the heater in the living room.
4. If the heater is installed in special-purpose vehicles (such as vehicles to deliver dangerous goods), special rules must be followed when installing the heater.
5. Make sure to keep the fuel tank, compression tank, fire extinguisher, clothes, paper, etc. away from the heater, and also avoid them opposite the hot air vent.
Installation of the Main equipment
Main equipment can be installed inside or outside your vehicle. But when it is installed outside the vehicle, a shield (Not Included) that can prevent damage (splash of stones) from external force should be provided. The heater can’t be soaked in the water or in the rain. If the heater is corroded by rain and water, please stop using the heater immediately and let a qualified technician inspect all components.
Installation in a truck
In trucks, the heater is better to be installed inside the driver’s cab. If it is not possible to install the heater inside the driver’s cab, it can also be mounted in the toolbox or in a storage box. Please refer to Fig.3

Installation position in an RV or people carrier
In an RV, the heater is preferably installed in the inner compartment or luggage compartment. If you can’t install the heater in the passenger compartment or boot, to protect against splashing water, the heater can also be mounted under the vehicle floor. Please refer to Fig.4

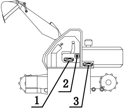
Installation in an excavator cab
In an excavator, the heater is preferably installed in the driver’s cab. If it is not possible, the heater can also be installed in a storage box outside the cab. Please refer to Fig.5

The heater can not be used on followed places and situations:
· Constant heating for a long time in a closed space(to avoid the danger of poisoning):
–Residential rooms
–Garages
–Work huts, weekend homes, and hunting huts
–Houseboats, etc.
· Heat and dry(to avoid danger):
–Life (people, animals, etc.) blowing hot air directly
–Articles and objects
–Blow hot air into containers
· Flammable vapor or dust:
–Fuel depot
–Carbon storehouse
-Timber storehouse
–Granary and similar sites
–Diesel/Petrol/Gas station









